
Modular Wegeventile
Der individuelle Steuerblock in Sandwich-Bauweise.
Für die Ansteuerung von hydraulischen Verbrauchern kommen neben Monoblockventilen auch Modular-Wegeventile zum Einsatz. Diese bestehen im Gegensatz zu Monoblockventilen aus mehreren Platten, die nebeneinander aufgebaut sind. Man spricht deshalb auch von der Sandwich-Bauweise.
Varianten und Ausführungen von Modular-Wegeventilen
Wie bei Monoblockventilen gibt es die Modular-Wegeventile ebenfalls einfach- oder doppelwirkend. Durch die Sandwich-Bauweise besteht die Möglichkeit, einzelne Elemente zu tauschen oder zu erweitern. Jedes Element kann mit einer Funktion belegt werden.
Je nach Hersteller und Durchflussgröße können zwischen 10 und 14 einzelne Elemente in einen Steuerblock eingebunden werden. In diesem Fall können die Betriebsdrücke dann bis zu 350 bar reichen. Je mehr Elemente in einem Steuerblock eingebunden sind, desto größer können die Druckabschläge in den letzten Elementen sein. Die einzelnen Druckabschläge können bis zu 25 bar betragen, was bei der Auslegung der einzelnen Elemente berücksichtigt werden muss.
Die Standardausführung eines Modular-Wegeventils kommt hauptsächlich bei Hydrauliksystemen mit Konstantpumpe zum Einsatz. Modular-Wegeventile mit dem Zusatz „LS“ – Load Sensing – werden für Hydrauliksysteme mit Verstellpumpen eingesetzt, da sie über einen speziellen Anschluss verfügen. Diese speziellen Ventile arbeiten deutlich effizienter und feinfühliger, wodurch letztlich Energie und Kosten eingespart werden. In diesem Fall reichen die Volumenströme, ebenfalls abhängig von Hersteller und Ventilserie, von 70 bis zu 240 Litern.
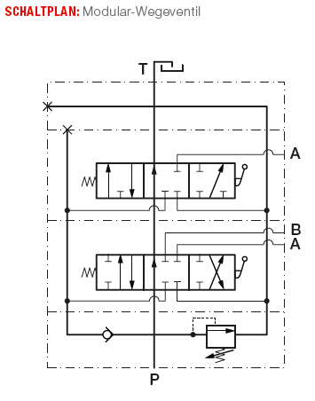
Elemente und Aufbau von Modular-Wegeventilen
Der Aufbau der Modular-Wegeventile nach der Sandwichbauweise beginnt mit einer Eingangsplatte mit dem Anschluss P (Druckeingang). Die meisten Ventilhersteller bieten diese Platte mit oder ohne Druckbegrenzungsventil an. Aufbauend auf die Eingangsplatte folgen die einzelnen Ventilelemente.Jedes Element erfüllt dabei unterschiedliche Funktionen und Schaltwege. Abschließend wird die Endplatte mit einem T-Anschluss, dem Rücklauf zum Tank, montiert. Alle Elemente werden mithilfe der Zuganker zu einem Block verschraubt.
Wichtig ist, die Herstellervorgaben hinsichtlich der Anzugsdrehmomente unbedingt einzuhalten, da es sonst bei unsachgemäßer Ausführung zu einer Gehäuseverspannung kommt, die letztendlich zu einer Fehlfunktion des Ventils führt.
Arten der Ventilansteuerung
In erster Linie sind die Modular-Wegeventile manuell über Handhebel anzusteuern. Die Schaltwege sind in den Ausführungen „federzentriert“ oder „rastend“ erhältlich. Welche Funktion gewählt wird, hängt vor allem von der angesteuerten Funktion ab. Soll beispielsweise eine Dosierklappe mithilfe eines Arbeitszylinders betätigt werden, sollten die Schaltwege federzentriert ausgeführt sein. So kann der Anwender den Öffnungswinkel der Dosierklappe genau steuern und die Dosierklappe bleibt stehen, sobald der Handhebel losgelassen wird. Soll dagegen beispielsweise ein Transportband oder eine Kehrbürste angesteuert werden, ist eine rastende Ausführung der Schalt stellung zu empfehlen. Bringt der Anwender den Handhebel in die Schaltstellung, läuft das Transportband oder die Kehrbürste im Dauerbetrieb. Die Funktion stoppt erst, wenn der Hebel wieder in der Nullstellung einrastet.
Die häufigste Art der Ansteuerung ist die elektronische Ansteuerung. Die einzelnen Sektionen sind mit Magnetspulen vorgerichtet und können über das Bordnetz von 12 oder 24 Volt versorgt werden. Hierbei sind die Schaltwege stets federzentriert und über die Strombeaufschlagung der Magnetspulen wird die Raststellung des Handhebels gehalten. Die Steuerung erfolgt über eine Funkfernbedienung oder einem Bedienkasten im Fahrerhaus.
Durchflussvolumen und Betriebsdruck
Für die Auswahl des richtigen Modular-Wegeventils müssen neben der Art des Verbrauchers auch Arbeitsgeschwindigkeit und Druckbereiche des anzusteuernden Verbrauchers bekannt sein. Die Hersteller des Aufbaus oder der Maschine geben den Druck und den maximalen Volumenstrom vor. Daraus erfolgt dann die Auslegung der Verbraucher. Für jedes Element müssen zuerst individuelle Werte bestimmt werden, wobei der höchste Wert als Grundlage zur Auswahl der Ventilserie dient. Daraufhin kann für jedes Element der Betriebsdruck und Volumenstrom auf den jeweiligen Verbraucher eingestellt werden. Mögliche Beschränkungen in den Einstellbereichen sind je nach Ventilserie und Hersteller bereits vorhanden oder realisierbar.
Zur Vermeidung von Staudrücken ist die Förderleistung der Hydraulikpumpe zu beachten. Sollte das Fördervolumen über dem Durchflussvolumen des Modular-Wegeventils liegen, ist ein Stromregelventil in die Druckleitung zum Ventil zu verbauen. Das Stromregelventil leitet dann das überschüssige Ölvolumen zum Tank oder einem weiteren Verbraucher weiter. Dies verhindert das Überhitzen des Hydrauliköls, wodurch wiederum Probleme im Hydrauliksystem entstehen könnten.






